导读
新型的圆锥式破碎机为了不断提升性能,在设计的时候都朝着大功率、高产能的方向发展,尤其是超细碎破碎机。这样破碎机主轴就要承受更大的作用力,久而久之,主轴有断裂的风险,那该怎么办呢?今天小编就和大家一起来探讨一番。
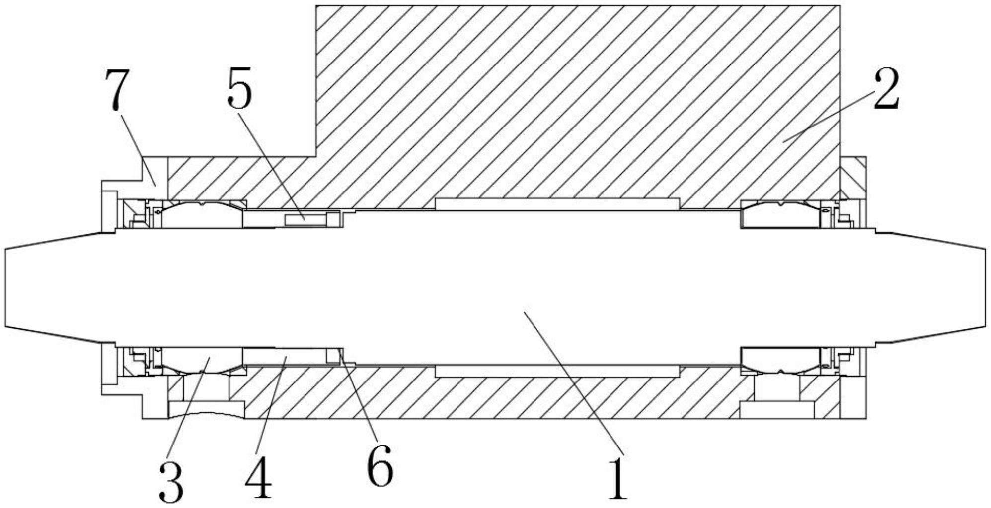
断裂原因
据了解,大部分主轴容易在以下几个地方发生断裂:上部螺纹退刀槽处,下部与锥体相配合的底面以及两段直径不同的交接处。断裂的原因主要有以下几种:
-1-主轴强度不足
主轴与破碎椎体之间的静配合使主轴断面产生裂痕,显著降低了主轴材料的抗疲劳强度,当过铁时主轴应力集中处的弯曲应力超过材质的强度而折断。
-2-主轴等材质的选用不当
主轴是圆锥破碎的核心部件,其质量好坏直接影响着整机性能的优劣。好的主轴和一般的主轴价格相差较大,有时甚至能高出几倍。
-3-超负荷的影响
由于弹簧压力不足,超负荷时破碎机上部支撑会在工作时跳动,造成产品粒度过粗。大多数操作人员会采取再度压缩保险弹簧的办法增加破碎力,虽然能改变成品粒度弹簧圆锥破碎机厂家,但是会增大主轴的受力,过铁时弹簧几乎被压死,致使主轴承受更大作用力,最终导致主轴断裂。
-4-破碎腔型的影响
圆锥破的腔型对破碎物料的成品质量有着很大的影响,好的破碎腔设计方案,能过大幅度的提升圆锥破碎机的破碎效率,降低设备使用中的损耗。除此之外,不同的破碎腔型,其产品大小、粒形以及整体的质量都有很大的差异。
-5-过铁和卡铁的次数影响
一些操作人员为了获得合格的产品粒度,经常缩小排矿口,造成破碎腔过铁或卡铁的次数增加,大大增加了主轴危险断面内弯曲应力达到最大值的次数,缩短了主轴的寿命。
-6-加工工艺
圆锥破碎机定齿板经过精加工,在更换齿板时无需填充环氧树脂等填充物弹簧圆锥破碎机厂家,是目前国内不需要填充物的一项加工技术,没有使用过的用户可能对这一点并不是非常的了解,需要填充物的在更换齿板时除了填充物的成本以及相应的人工成本,更重要的是填充物需要晾干才能进行生产,周期一般为7-10天。
解决方法
通过以上分析,弹簧压力不足要从设计上考虑;因排矿口缩小造成过铁次数增加,可以从操作上想办法解决,即加强检铁工作;疲劳强度不足可以采取下列措施提高主轴的疲劳强度:
1、将主轴与破碎圆锥躯体之间静压合部分的躯体下边缘处做成一圈减载槽,减少因静配合而产生的应力集中。
2、对主轴的静压面部分进行滚压加工,增加其表面光滑度和硬度。
3、减少主轴静压合部分的过盈,虽然过盈量越大就越牢固,但是,应力集中亦随之增加,主轴的疲劳强度也会越加严重。
4、增大主轴配合部分与锥体之间的过渡圈角,以减少应力集中系数。
凡本网注明“来源:砂石装备网”的所有作品,版权均属于砂石装备网,转载请注明。
凡注明为其它来源的信息,均转载自其它媒体,转载目的在于传递更多信息,并不代表本网赞同其观点及对其真实性负责。
如有新闻稿件和图片作品的内容、版权以及其它问题的,请联系我们。
2025长沙国际工程机械展览会东南亚分展 2025 SOUTHEAST ASIA SUB-EXHIBITION OF CHANGSHA INTERNATIONAL CONSTRUCTION EQUIPMENT EXHIBITION 2025年9月3-5日(三天) 地点:马来西亚·吉隆坡实达城会展中心(SCCC...
2025-07-03 16:25:30
核心摘要:2025年5月18日,为期四天的第四届长沙国际工程机械展览会(以下简称“2025CICEE”)在长沙国际会展中心正式落下帷幕。本届展会 2025年5月18日,为期四天的第四届长沙国际工程机械展览会(以下简称“2025CICEE”)在长沙国际会展中心正式落下帷幕。本届展会以"高端化、智能化、...
2025-05-19 11:21:21
2025年5月15日上午9时40分,第四届长沙国际工程机械展览会在长沙国际会展中心隆重开幕。本届展会规模达30万平方米,全球1806家参展企业齐聚一堂,集中展示工程机械领域的最新技术与产品。1000余名全球行业领袖、院士专家、企业代表及国际采购商共同参会,见证这一国际工程机械领域的年度盛事。...
2025-05-16 08:31:29
日立建机参展的首台设备——ZX900LCH-6A矿山液压挖掘机。抵达长沙国际会展中心的卡特彼勒挖掘机。红网时刻新闻5月8日讯(记者 彭超)第四届长沙国际工程机械展将于5月15日开幕。还有一周的时间,国内外品牌相继进驻场馆布展。5月8日,日本日立建机、美国卡特彼勒两家全球工程机械50强企业的参展设备进驻长沙国际会展中心,...
2025-05-10 11:48:38
4月30日,湖南省政府新闻办举办新闻发布会,宣布第四届长沙国际工程机械展览会将于5月15日至18日启幕。当天,装载三一集团蓝色电动装载机的运输车辆驶入长沙国际会展中心,这也是第二家正式布展企业。据悉,三一集团将携旗下18个事业部和子公司、72件套设备(含58台主机)震撼登场,以10089平米的超大展位,全面展现三一的高...
2025-05-06 20:27:36
2025年4月30日,湖南省新闻办公室召开新闻发布会,宣布第四届长沙国际工程机械展览会定于5月15日至18日在长沙国际会展中心、长沙国际会议中心举办。长沙市人民政府副市长康镇麟出席发布会并介绍展会筹备情况:本届展览会以高端化、智能化、绿色化新一代工程机械、应急装备、矿山装备、农业机械为主题,预计吸引全球1650家参展企...
2025-05-06 20:27:07
5月,世界的目光将聚焦长沙。第四届长沙国际工程机械展将于5月15日至18日在长沙国际会展中心、长沙国际会议中心举行。4月29日,随着“全球工程机械制造商50强”中联重科的首批百吨设备进场,展会进入布展时间。上午9时30分,装载着中联重科工程机械零部件的平板车缓缓驶入长沙国际会展中心,荧光绿的漆面在阳光下格外显眼。这些设...
2025-04-30 09:19:07
当全球工程机械产业的聚光灯再次投向湘江之畔,2025CICEE《高端化、智能化、绿色化——新一代工程机械、应急装备、矿山装备、农业机械》电子会刊第二期正式发布。继首期会刊创下超192万次阅读的行业纪录后,本期会刊汇聚183家全球领军企业,以尖端技术产品和创新解决方案,续写“工程机械之都”的传奇篇章。01硬核生态:解码产...
2025-04-30 09:15:38
5月15日,2025长沙国际工程机械展览会(2025 CICEE)即将在长沙国际会展中心盛大开幕,届时,来自全球60多个国家和地区的超1600家参展商,将在30万平方米的展区内陈列超2万件展品,涵盖工程机械全领域前沿技术和产品。目前,众多展商已蓄势待发,期待在这个推动全球工程机械行业交流与合作的超级平台上一展风采。...
2025-04-17 08:31:38
在璀璨初夏的五月天,2025长沙国际工程机械展览会将于5月15日至18日在长沙国际会展中心华丽启幕。作为一颗迅速崛起的璀璨新星于世界工程机械展会之林,长沙展在规模之宏大、观众之众多、世界50强企业参展数量之多及影响力之广上,已可与全球三大工程机械展并驾齐驱,共绘辉煌。展会前夕,我们有幸专访了合肥长源液压股份有限公司的...
2025-04-17 08:30:36
主营:破碎机
主营:破碎机
主营:破碎机
主营:破碎机
主营:破碎机
主营:破碎机、制砂楼
主营:破碎机
主营:破碎机
主营:筛网、筛机配件
主营:振动电机
主营:破碎机
主营:制砂机、筛分设备